201 適用範圍
|
201
|
|||
| 201 |
建築物依規定應設置無障礙通路者,其通路設計應符合本章規定。 |
||
202 通則
|
202.1
|
|||
| 202.1 |
組成:無障礙通路應由以下一個或多個設施組成,包括室外通路、室內通路走廊、出入口、坡道、扶手、昇降設備、升降平台等。 |
||
|
202.2
|
|||
| 202.2 |
高差:高差在0.5公分至3公分者,應作1/2之斜角處理;高差超過3公分者,應設置符合本規範之坡道、昇降設備、升降平台。但高差未達0.5公分者,得不受限制(如圖202.2)。
|
||
|
202.3
|
|||
| 202.3 |
地面:通路地面應平整、防滑且易於通行。 |
||
|
202.4
|
|||
| 202.4 |
獨棟或連棟建築物之特別規定 |
||
|
202.4.1
|
|||
| 202.4.1 |
適用對象:建築基地內該棟自地面層至最上層均屬同一住宅單位且僅供住宅使用者。 |
||
|
202.4.2
|
|||
| 202.4.2 |
組成:其地面層無障礙通路,僅須設置室外通路。 |
||
|
202.4.3
|
|||
| 202.4.3 |
設有騎樓者:其室外通路得於騎樓與道路邊界設置1處以上坡道,經由騎樓通達各棟出入口。 |
||
|
202.4.4
|
|||
| 202.4.4 |
免設置:位於山坡地者,或其臨接道路之淹水潛勢高度達50公分以上且地面層須自基地地面提高50公分以上者,或地面層設有室內停車位者,或建築基地未達10個住宅單位者,得免設置室外通路。 |
||
|
202.4.5
|
|||
| 202.4.5 |
部分設置:建築基地具10個以上、未達50個住宅單位者,應至少有1/10以上之住宅單位設置室外通路。其計算如有餘數者,應再增加1個住宅單位設置室外通路。 |
||
203 室外通路
|
203.1
|
|||
| 203.1 |
適用範圍:建築線(道路或人行道)至建築物主要出入口,或基地內各幢建築物間,設有引導設施,作為無障礙通路之室外通路應符合本節規定。 |
||
|
203.2
|
|||
| 203.2 |
室外通路設計 |
||
|
203.2.1
|
|||
| 203.2.1 |
室外通路引導標誌:室外無障礙通路與建築物室外主要通 路不同時,必須於室外主要通路入口處標示無障礙通路之方向。 |
||
|
203.2.2
|
|||
| 203.2.2 |
室外通路坡度:地面坡度不得大於1/15;但適用本規範202.4者,其地面坡度不得大於1/10,超過者應依本規範206節規定設置坡道,且兩不同方向之坡道交會處應設置平台,該平台之坡度不得大於1/50。 |
||
|
203.2.3
|
|||
| 203.2.3 |
室外通路寬度:室外通路寬度不得小於130公分;但適用本規範202.4者,其通路寬度不得小於90公分。 |
||
|
203.2.4
|
|||
| 203.2.4 |
室外通路排水:室外通路應考慮排水,洩水坡度為1/100至1/50。 |
||
|
203.2.5
|
|||
| 203.2.5 |
室外通路開口:室外通路寬度130公分範圍內,儘量不設置水溝格柵或其他開口,如需設置,水溝格柵或其他開口應至少有一方向開口不得大於1.3公分(如圖203.2.5)。
|
||
|
203.2.6
|
|||
| 203.2.6 |
室外通路突出物限制:室外通路淨高度不得小於200公分,於距地面60公分至200公分範圍內,不得有10公分以上之懸空突出物,如為必要設置之突出物,應設置防護設施(可使用格柵、花台或任何可提醒視覺障礙者之設施)(如圖203.2.6)。
|
||
|
203.2.7
|
|||
| 203.2.7 |
室外通路警示設施特別規定:室外通路設有坡道,並於側邊設有階梯時,為利視覺障礙者使用,應依本規範306.1於階梯終端設置終端警示設施,其寬度不得小於130公分或該階梯寬度。 |
||
|
203.2.8
|
|||
| 203.2.8 |
室外通路迴轉空間:寬度小於150公分之通路,每隔60公尺、通路盡頭或距盡頭350公分以內,應設置直徑150公分以上之迴轉空間。但適用本規範202.4者,其迴轉空間直徑不得小於120公分。 |
||
|
203.3
|
|||
| 203.3 |
室外通路防護設施 |
||
|
203.3.1
|
|||
| 203.3.1 |
室外通路邊緣防護:室外通路與鄰近地面高差超過20公分者,未鄰牆壁側應設置高度5公分以上之邊緣防護(如圖203.3.1)。
|
||
|
203.3.2
|
|||
| 203.3.2 |
室外通路防護設施:室外通路與鄰近地面高差超過75公分者,未鄰牆壁側應設置高度110 公分以上之防護設施;室外通路位於地面層10層以上者,防護設施不得小於120公分(如圖203.3.2)。
|
||
204 室內通路走廊
|
204.1
|
|||
| 204.1 |
適用範圍:無障礙通路之室內通路走廊,應符合本節規定。 |
||
|
204.2
|
|||
| 204.2 |
室內通路走廊設計 |
||
|
204.2.1
|
|||
| 204.2.1 |
室內通路走廊坡度:地面坡度不得大於1/50,超過者應依本規範206節規定設置坡道。 |
||
|
204.2.2
|
|||
| 204.2.2 |
室內通路走廊寬度:室內通路走廊寬度不得小於120公分,走廊中如有開門,則扣除門扇開啟之空間後,其寬度不得小於120公分(如圖204.2.2)。
|
||
|
204.2.3
|
|||
| 204.2.3 |
室內通路走廊突出物限制:室內通路走廊淨高度不得小於190公分;兩側之牆壁,於距地板面60公分至190公分範圍內,不得有10公分以上之懸空突出物,如為必要設置之突出物,應設置防護設施(可使用格柵、花台或任何可提醒視覺障礙者之設施)﹙如圖204.2.3﹚。
|
||
|
204.2.4
|
|||
| 204.2.4 |
室內通路走廊迴轉空間:寬度小於150公分之走廊,每隔10公尺、通路走廊盡頭或距盡頭350公分以內,應設置直徑150公分以上之迴轉空間。 |
||
|
204.3
|
|||
| 204.3 |
室內通路走廊防護設施 |
||
|
204.3.1
|
|||
| 204.3.1 |
室內通路走廊邊緣防護:室內通路走廊與鄰近地板面高差超過20公分者,未鄰牆壁側應設置高度5公分以上之邊緣防護(如圖204.3.1)。
|
||
|
204.3.2
|
|||
| 204.3.2 |
室內通路走廊防護設施:室內通路走廊與鄰近地板面高差超過75公分者,未鄰牆壁側應設置高度110公分以上之防護設施;室內通路走廊位於地面層10層以上者,防護設施高度不得小於120公分(如圖204.3.2)。
|
||
205 出入口
|
205.1
|
|||
| 205.1 |
適用範圍:無障礙通路上之出入口、驗﹙收﹚票口及門之設計應符合本節規定。 |
||
|
205.2
|
|||
| 205.2 |
出入口設計 |
||
|
205.2.1
|
|||
| 205.2.1 |
通則:出入口兩側之地面120公分之範圍內應平整、防滑、易於通行,不得有高差,且坡度不得大於1/50。 |
||
|
205.2.2
|
|||
| 205.2.2 |
避難層出入口:出入口前應設置平台,平台淨寬度與出入口同寬,且不得小於150公分,淨深度亦不得小於150公分,且坡度不得大於1/50。地面順平避免設置門檻,門外可考慮設置溝槽防水(開口至少有一方向應小於1.3公分,如圖203.2.5),若設門檻時,應為3公分以下。門檻高度在0.5 公分至3公分者,應作1/2之斜角處理,高度未達0.5公分者,得不受限制。 |
||
|
205.2.3
|
|||
| 205.2.3 |
室內出入口:門扇打開時,地面應平順不得設置門檻,且門框間之距離不得小於90公分(如圖205.2.3);另橫向拉門、折疊門開啟後之淨寬度不得小於80公分。
|
||
|
205.2.4
|
|||
| 205.2.4 |
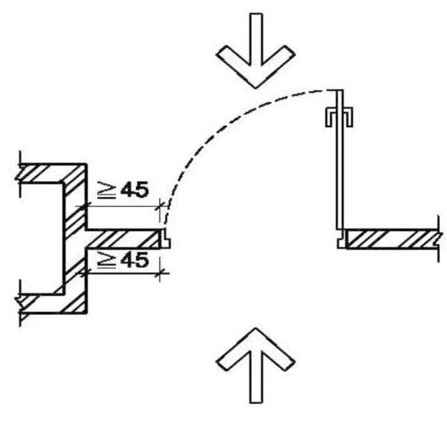
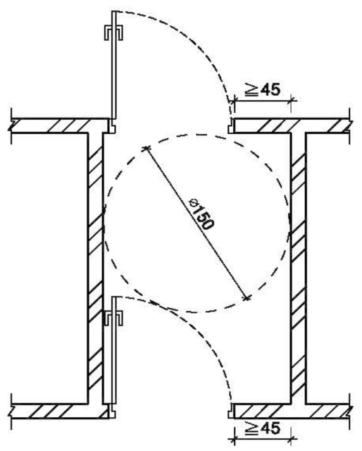
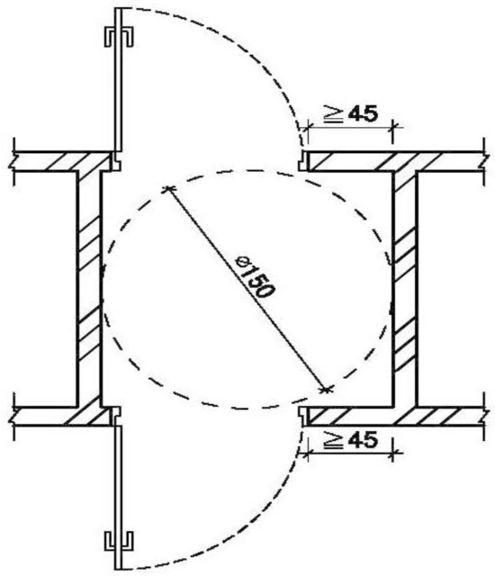
操作空間:通路走廊與門垂直者,門把側邊之操作空間不得小於45公分﹙如圖205.2.4.1﹚;通路走廊與門平行者,門把側邊之操作空間不得小於60公分﹙如圖205.2.4.2﹚;設有風除室者,應留設直徑150公分以上之迴轉空間﹙如圖 205.2.4.3﹚。
|
||
|
205.3
|
|||
| 205.3 |
驗(收)票口:淨寬不得小於80公分,前後地板面應順平,且地板面坡度不得大於1/50。 |
||
|
205.4
|
|||
| 205.4 |
門 |
||
|
205.4.1
|
|||
| 205.4.1 |
開門方式:不得使用旋轉門、彈簧門。如設有自動開關裝置時,其裝置之中心點應距地板面85公分至90公分,且距柱、牆角30公分以上。使用自動門者,應設有當門受到物體或人之阻礙時,可自動停止並重新開啟之裝置。 |
||
|
205.4.2
|
|||
| 205.4.2 |
門扇:門扇得設於牆之內、外側。若門扇或牆版為整片透明玻璃,應於距地板面110公分至150公分範圍內設置告知標誌(如圖205.4.2)。
|
||
|
205.4.3
|
|||
| 205.4.3 |
門把:門把應採用容易操作之型式,不得使用凹入式或扭轉型式,中心點應設置於距地板面75公分至85公分、門邊4公分至6公分之範圍。使用橫向拉門者,門把應留設4公分至6公分之防夾手空間(如圖205.4.3.1、圖205.4.3.2)。
|
||
|
205.4.4
|
|||
| 205.4.4 |
門鎖:應設置於距地板面70公分至100公分之範圍,並採用容易操作之型式,不得使用喇叭鎖、扭轉型式之門鎖。 |
||
206 坡道
|
206.1
|
|||||||||
| 206.1 |
適用範圍:在無障礙通路上,上下平台高差超過3公分,或坡度超過1/15者,應設置符合本節規定之坡道。 |
||||||||
|
206.2
|
|||||||||
| 206.2 |
坡道設計 |
||||||||
|
206.2.1
|
|||||||||
| 206.2.1 |
坡道引導標誌:坡道儘量設置於建築物主要入口處;如未設置於主要入口處者,應於入口處及沿路轉彎處設置引導標誌。 |
||||||||
|
206.2.2
|
|||||||||
| 206.2.2 |
坡道寬度:坡道淨寬不得小於90公分(如圖206.2.2);如坡道為取代樓梯者﹙即未另設樓梯﹚,則淨寬度不得小於150公分。
|
||||||||
|
206.2.3
|
|||||||||
| 206.2.3 |
坡道坡度:坡道之坡度不得大於1/12;高差小於20公分者 ,其坡度得酌予放寬,惟不得超過表206.2.3規定。 表206.2.3
|
||||||||
|
206.2.4
|
|||||||||
| 206.2.4 |
坡道地面:坡道地面應平整、防滑且易於通行。 |
||||||||
|
206.3
|
|||||||||
| 206.3 |
坡道平台 |
||||||||
|
206.3.1
|
|||||||||
| 206.3.1 |
端點平台:坡道起點及終點,應設置長、寬各150公分以上,且坡度不得大於1/50之平台﹙如圖206.3.1﹚。但端點平台於騎樓者不得大於1/40。
|
||||||||
|
206.3.2
|
|||||||||
| 206.3.2 |
中間平台:坡道每高差75公分,應設置長度150公分以上且坡度不得大於1/50之平台(如圖206.3.1)。 |
||||||||
|
206.3.3
|
|||||||||
| 206.3.3 |
轉彎平台:坡道轉彎角度大於45度處,應設置直徑150公分以上且坡度不得大於1/50之平台。(如圖206.3.3.1、圖 206.3.3.2、圖206.3.3.3)
|
||||||||
|
206.4
|
|||||||||
| 206.4 |
坡道防護設施 |
||||||||
|
206.4.1
|
|||||||||
| 206.4.1 |
坡道邊緣防護:坡道與鄰近地面高差超過20公分者,未鄰牆壁側應設置高度5公分以上之邊緣防護(如圖206.4.1)。
|
||||||||
|
206.4.2
|
|||||||||
| 206.4.2 |
坡道防護設施:坡道與鄰近地面高差超過75 公分時,未鄰牆壁側應設置高度110公分以上之防護設施;坡道位於地面層10層以上者,防護設施高度不得小於120公分(如圖206.4.2)。
|
||||||||
|
206.5
|
|||||||||
| 206.5 |
坡道扶手:高差超過20公分之坡道,兩側應設置符合本規範207節規定之連續性扶手,且得免設置水平延伸。 |
||||||||
207 扶手
|
207.1
|
|||
| 207.1 |
適用範圍:無障礙設施需設置扶手者,其扶手設計應符合本節規定。 |
||
|
207.2
|
|||
| 207.2 |
通則 |
||
|
207.2.1
|
|||
| 207.2.1 |
扶手形狀:可為圓形、橢圓形,圓形直徑2.8公分至4公分,其他形狀者,外緣周邊長9公分至13公分﹙如圖207.2.1﹚。
|
||
|
207.2.2
|
|||
| 207.2.2 |
表面:扶手表面及靠近之牆壁應平整,不得有突出或勾狀物。 |
||
|
207.3
|
|||
| 207.3 |
扶手設置 |
||
|
207.3.1
|
|||
| 207.3.1 |
堅固:扶手應設置堅固,除廁所特別設計之可動扶手外, 扶手皆需穩固不得搖晃,且扶手接頭處應平整,不可有銳利之突出物。 |
||
|
207.3.2
|
|||
| 207.3.2 |
與壁面距離:扶手如鄰近牆壁,與壁面保留之間隔不得小於5公分,且扶手上緣應留設最少45公分之淨空間(如圖207.3.2)。
|
||
|
207.3.3
|
|||
| 207.3.3 |
高度:設單道扶手者,扶手上緣距地板面應為75公分至85公分。設雙道扶手者,扶手上緣距地板面應分別為65公分、85公分,若用於小學,高度應各降低10公分(如圖207.3.3)。
|
||
|
207.3.4
|
|||
| 207.3.4 |
端部處理:扶手端部應作防勾撞處理(如圖207.3.4),並視需要設置可供視覺障礙者辨識之資訊或點字。
|
||